找回密码
 立即注册
澳门威尼斯人
U8
U18
海燕招商
A
蓝盾
e世博
islot.
申博亚洲
澳门银河
B
腾博会
德信
C级广告商
吉祥坊
查看: 183998|回复: 60

[彩票] 【实战有奖】今天在HHgame娱乐城亏损11块大洋

[复制链接]

3192

主题

5万

回帖

1943

金币

钻石用户

积分
134127

万时之王老会员精华勋章美女勋章勤奋勋章交易勋章

发表于 2025-2-12 20:54 | 显示全部楼层 |阅读模式

马上注册,结交更多好友,享用更多功能,让你轻松玩转社区。

您需要 登录 才可以下载或查看,没有账号?立即注册

×
一晃一个年就这样过完了,今天是元宵节,不知道大家的元宵节是如何度过的呢?有什么风俗吗?我这里举行赏花灯,吃汤圆,还有猜灯谜活动。猜中2个灯谜就送一条厚毛巾。猜中4个灯谜就送别的礼物,凡是对2个就有礼物送。大人孩子一起抢着猜,有的家长还拿着谜语去百度,百度不出来就又放回去。哈哈,厉害的家长太多了,兑换了一堆礼物回家,满满的幸福!我去的时候有点晚了,没有多少张谜语,剩下的都是非常难猜的,我猜对一个,还差一个无法兑换礼物,工作人员看我实在猜不出二个,第二个谜语直接告诉我答案了,哈哈,他说不能让我空手回家呀。
- O) d7 j" x- d' l
) [. Q, ], K. _; j) ]# p

8 U3 T) U( ?5 ~7 G                               
登录/注册后可看大图
0 z% b1 N- z2 z% U
$ Z8 m  K7 X# |7 a" O
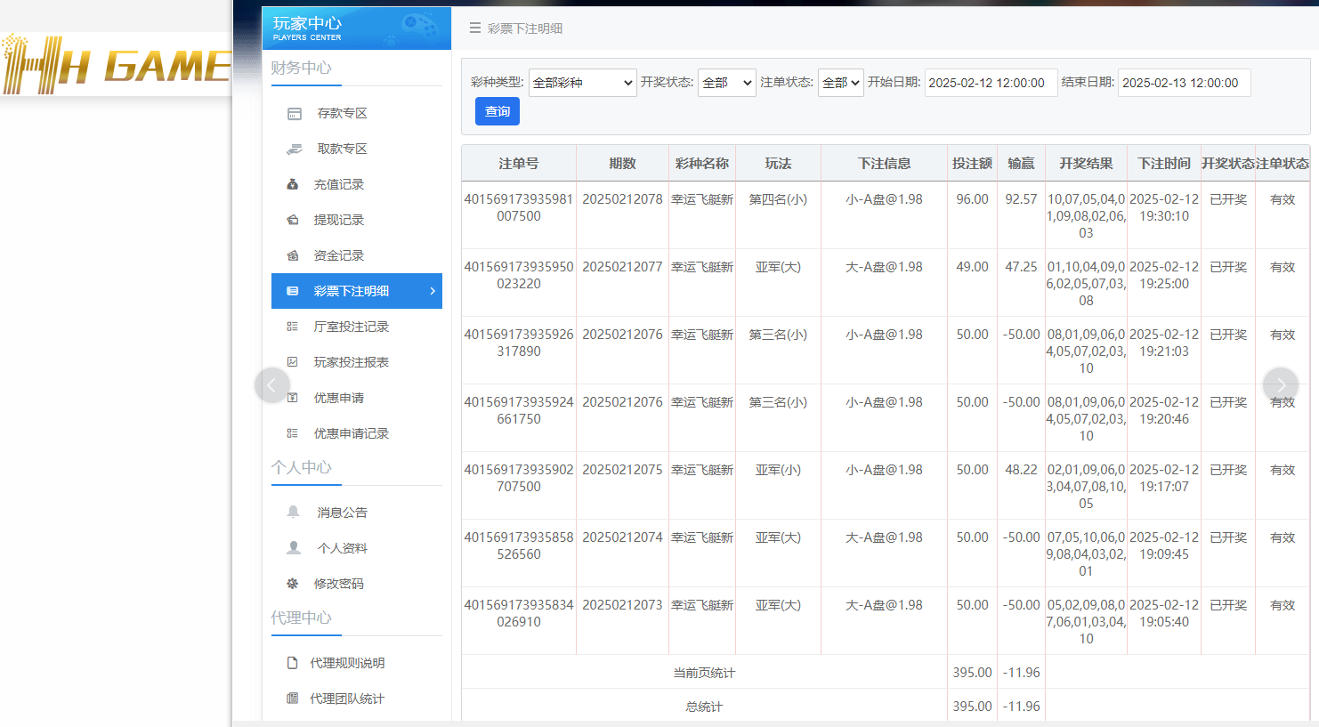
今天猜完谜语回来有点晚了,不过还是去HHgame公司存了200块小玩一下,今天是元宵节,也来完成一下任务先了。
: a$ U! L% X  K8 h4 b8 C; x先来观察一下路子了,第一把比较看好亚军位置上出大球,前面已出小小小大大小大大?大球出的机会多,还是0 y9 m2 y5 [& i7 u) m" }: k$ Y4 f/ f7 u
继续跟一手大球好了,结果这一期开出来了数字02,是小球,第一把就拿下了开门黑了,有点扎心啊。
, x8 x! u8 w. v/ }+ H
% v7 R" ?/ V% L) T  D接着比较看好亚军位置上出大球,前面已出小小小大大小大大小?我感觉是双跳的路子,要往大数开出来了,决定反买一手大球,
5 k  P% s9 g' |) ~  Z: e结果开出来数字05,还是小球,又错了一把,真是扎心了啊,亚军的小球连续出两期了,那我继续追小球算了,也许是出/ X7 b# @  H; J
龙了呢,决定追一把亚军位置上的小球,结果开出来数字01,是小球,我的判断终于是对了,美滋滋啊。
# v1 {  r& Q& }* \/ q2 ^
" y) c) Z+ x: B接下来比较看好第三名位置上出小球,前面已出小小小大小大大大?感觉要反弹小球了,决定博一把小球试试了,结果网络卡了,一下子下了2把4 Y' [: B# y0 v
小球,结果开出来数字09,是大球,真的是太悲剧了啊。欲哭无泪了。2 q7 p, t0 h& C! I5 ~8 Q" y; e. L

: y' X/ `4 I5 `- d& W' ]8 A8 L' q接下来比较看好第四名位置上出小球,前面已出大小大大大大大?我觉得要反弹小球了,决定博一手小球吧,结果这一期开出来数字04,果然反弹小球了,我的单子也是顺利搞定了。终于把前面输的赢回来了,太开心了,只是亏损11块大洋了,也是无所谓的呢。  B# C7 `; c. u0 ]7 I; ?
, B( P1 x' c) T2 K' t  F
# J3 t- d% j3 g4 @9 a( P6 H. ^, x

& F( w$ h; p' q) D                               
登录/注册后可看大图

' Y0 j2 @+ ~- N# s* K
8 N0 B  G( p3 V HH投注.png
% z1 P# R2 A9 y/ m! A) o7 a  |/ _- g& ]2 g& g/ @1 e2 k
HH娱乐城.png
, a* n, g7 a/ m! G; z  W# W' j+ q, r7 Z) a) p  ?3 J

* Y$ ^9 }& N8 h+ @
回复

使用道具 举报

480

主题

3万

回帖

4665

金币

铂金用户

积分
84327

老会员美女勋章勤奋勋章交易勋章

发表于 2025-2-12 20:59 | 显示全部楼层
输的不多还是没什么的,很快就可以赢回来的没关系了
回复 支持 反对

使用道具 举报

34

主题

6801

回帖

934

金币

金牌会员

积分
21370

老会员光影行者

发表于 2025-2-12 21:01 | 显示全部楼层
楼主今天的运气是非常一般的,但是存款不多,只有11大洋的亏损也是没事的
回复 支持 反对

使用道具 举报

2625

主题

5万

回帖

5681

金币

钻石用户

积分
175826

万时之王老会员精华勋章勤奋勋章交易勋章

发表于 2025-2-12 22:44 来自手机 | 显示全部楼层
楼主今天玩彩票运气一般,小亏了十块钱,亏损不多,下次赢回来
回复 支持 反对

使用道具 举报

2625

主题

5万

回帖

5681

金币

钻石用户

积分
175826

万时之王老会员精华勋章勤奋勋章交易勋章

发表于 2025-2-12 22:48 来自手机 | 显示全部楼层
初秋2323a 发表于 2025-2-12 20:59
  p% `6 V; O% H% m输的不多还是没什么的,很快就可以赢回来的没关系了
/ z3 Y% x3 X" A; }0 \2 Z; K2 a
只是亏损了11块钱,亏损不大,没有太大影响,希望下次多收米了
回复 支持 反对

使用道具 举报

2625

主题

5万

回帖

5681

金币

钻石用户

积分
175826

万时之王老会员精华勋章勤奋勋章交易勋章

发表于 2025-2-12 22:49 来自手机 | 显示全部楼层
决战夕阳 发表于 2025-2-12 21:01
+ k' ?5 K: F5 B# N2 l) U$ M9 Z* _楼主今天的运气是非常一般的,但是存款不多,只有11大洋的亏损也是没事的 ...
4 U! o* S& M$ f, V1 ]3 z
总是会有输有赢的,这次输钱不太多,明天有机会再赢回来的,加油
回复 支持 反对

使用道具 举报

845

主题

2万

回帖

1万

金币

铂金用户

积分
90100

老会员精华勋章魅力达人

发表于 2025-2-13 03:05 来自手机 | 显示全部楼层
楼主这个元宵节过的还是很充实的,即出去感受到了节日的气氛,回来又不耽误实战贴任务真好。
回复 支持 反对

使用道具 举报

845

主题

2万

回帖

1万

金币

铂金用户

积分
90100

老会员精华勋章魅力达人

发表于 2025-2-13 03:10 来自手机 | 显示全部楼层
浴火凤凰 发表于 2025-2-12 22:482 w& v& f$ b. Q  y; b" H; E
只是亏损了11块钱,亏损不大,没有太大影响,希望下次多收米了
. p6 i$ g6 r' ~+ H& S! y
确实是输的不多,才输11块钱这是可以接受的范围,下次游戏能赢回来的。
回复 支持 反对

使用道具 举报

845

主题

2万

回帖

1万

金币

铂金用户

积分
90100

老会员精华勋章魅力达人

发表于 2025-2-13 03:13 来自手机 | 显示全部楼层
决战夕阳 发表于 2025-2-12 21:01
) R& W1 _: S% X2 I2 a楼主今天的运气是非常一般的,但是存款不多,只有11大洋的亏损也是没事的 ...

; J( B) I2 t) |) R3 H  C/ h- t* R确实输的也不算多的了,菠菜游戏这点亏损也是很正常的范围。
回复 支持 反对

使用道具 举报

2477

主题

8万

回帖

5183

金币

海燕硕士

积分
226504

老会员超级精华精华勋章美女勋章勤奋勋章交易勋章万时之王

发表于 2025-2-13 07:16 | 显示全部楼层
最后导致亏损也是比较难受的玩游戏的心情也是不太美丽
回复 支持 反对

使用道具 举报

2477

主题

8万

回帖

5183

金币

海燕硕士

积分
226504

老会员超级精华精华勋章美女勋章勤奋勋章交易勋章万时之王

发表于 2025-2-13 07:16 | 显示全部楼层
linx1978 发表于 2025-2-13 03:13
5 c& H) L( g8 O& N5 f( t确实输的也不算多的了,菠菜游戏这点亏损也是很正常的范围。
+ W/ f5 b5 ~5 N. E2 r8 ?
亏损虽然不多也是钱啊,比起输钱来说这个输钱也是钱
回复 支持 反对

使用道具 举报

2477

主题

8万

回帖

5183

金币

海燕硕士

积分
226504

老会员超级精华精华勋章美女勋章勤奋勋章交易勋章万时之王

发表于 2025-2-13 07:16 | 显示全部楼层
linx1978 发表于 2025-2-13 03:05' k. x% x, n% @
楼主这个元宵节过的还是很充实的,即出去感受到了节日的气氛,回来又不耽误实战贴任务真好。 ...

, Q* X4 I. [: _- U& l9 o- q过去比较充实也是可以的,楼注的生活也是比较丰富的
回复 支持 反对

使用道具 举报

2477

主题

8万

回帖

5183

金币

海燕硕士

积分
226504

老会员超级精华精华勋章美女勋章勤奋勋章交易勋章万时之王

发表于 2025-2-13 07:17 | 显示全部楼层
浴火凤凰 发表于 2025-2-12 22:49
+ x; Z9 Y- C: v  X; |0 Q总是会有输有赢的,这次输钱不太多,明天有机会再赢回来的,加油
; ~2 O7 }* r. p+ G: A. k
输的不多也是因为自己玩的好啊,这样的情况下也是可以接受的情况
回复 支持 反对

使用道具 举报

2477

主题

8万

回帖

5183

金币

海燕硕士

积分
226504

老会员超级精华精华勋章美女勋章勤奋勋章交易勋章万时之王

发表于 2025-2-13 07:17 | 显示全部楼层
浴火凤凰 发表于 2025-2-12 22:44  _  P1 T3 h. Z4 k' V0 [
楼主今天玩彩票运气一般,小亏了十块钱,亏损不多,下次赢回来

( U4 `5 v. w# w  e- R( [4 ~3 y彩票这个游戏也是比较难玩的,我们也可以继续理解这样的一个心情
回复 支持 反对

使用道具 举报

2477

主题

8万

回帖

5183

金币

海燕硕士

积分
226504

老会员超级精华精华勋章美女勋章勤奋勋章交易勋章万时之王

发表于 2025-2-13 07:18 | 显示全部楼层
初秋2323a 发表于 2025-2-12 20:595 G0 X8 q# B8 \2 j* d& A
输的不多还是没什么的,很快就可以赢回来的没关系了
5 W" G6 k7 t3 K9 V. f
想要赚回来还是比较困难的,也不是天天可以赚到这样的钱来的
回复 支持 反对

使用道具 举报

您需要登录后才可以回帖 登录 | 立即注册

本版积分规则

广告合作|福利汇|论坛简介|钱包教程|手机版|小黑屋|Archiver|海燕论坛

快速回复 返回顶部 返回列表