找回密码
 立即注册
澳门威尼斯人
U8
U18
海燕招商
A
蓝盾
e世博
islot.
申博亚洲
澳门银河
B
开云
腾博会
德信
C级广告商
吉祥坊
华体会
查看: 26422|回复: 74

[彩票] 【实战有奖】威尼斯人台湾宾果连挂后稳收,亏损2450止步

[复制链接]

91

主题

2万

回帖

7557

金币

铂金用户

积分
81363

老会员交易勋章魅力达人

发表于 2025-10-6 16:17 | 显示全部楼层 |阅读模式

马上注册,结交更多好友,享用更多功能,让你轻松玩转社区。

您需要 登录 才可以下载或查看,没有账号?立即注册

×
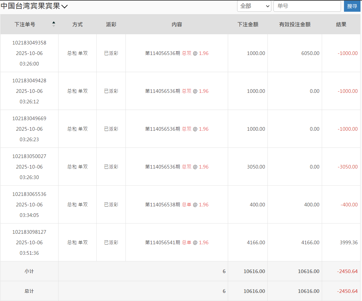
今天下午打了台湾宾果这一轮,整体过程挺曲折,但也算控制住了节奏。大概从下午三点左右开始进场,当时看走势总和“双”连开几期,手痒了,于是轻仓试单。原本打算随便玩玩,结果越看越不对劲,单双频繁切换,让人有点摸不清节奏。
' K& {, N4 [* {- N3 K6 ~! D# e; {# z2 o) |4 {* _- p$ P$ @
这轮总共下了六单,前几把基本都在试探走势。结果连续几期都反着来,尤其是那笔3050的“总双”,被直接吃掉,账面一口气红到三千多。那一瞬间心态确实有点晃,手差点又去补仓。后来想到之前吃亏的经验,强行让自己停手,看完那期结果就去洗了个脸。
- h: ]& Y- z" |* F. A+ ^" n1 h4 Z# h( h( a$ N+ j3 p. ]  ?. B
回来后重新看走势图,发现节奏有点回稳,于是再上两把“总单”试水。最后一单我加到4166,打的第114056541期,终于中回来了3999.36,这口气算是稳了。整盘下来,亏了2450左右,折合人民币不到两千。0 \. q; P/ i# U" `  r; d4 Z

" E( A2 m0 _. M' s. n  i" @. S& e. F- U账面上虽然是负的,但我个人觉得这轮打得比前几次更“成熟”——不是赢多少的问题,而是我终于没再乱追。这次BBIN那边转入了10616,转出回大厅时剩8165,虽然账面亏损,但过程有节制、心态稳,算是一次小考合格。
- I6 l$ x$ N; q/ f+ e( b* r7 C/ J2 _/ a4 o
过去我常常一看挂单就想加码“赢回来”,结果反而输更惨。现在我学会了一件事:赢钱靠机会,止损靠自律。只要不被情绪带走,长期来看反而能少损多赢。. c- J1 m, U9 O* |6 F
$ T8 C% Q3 z+ X% ^1 ]1 N: f
另外,这轮台湾宾果的走势挺诡异的,总和单双跳得快,没有出现连续7期以上的连号。下午那段时间尤其乱,建议后面玩这盘口的兄弟们注意节奏,不要被短线结果误导。可以像我这样——前几期用小注探路,等走势方向稳定后再加码。* c3 k! ?0 T- J( t  B% g4 ~, X3 J0 F

1 E; l0 r7 E! P4 H这次我还特地看了下注明细,总金额10616,有效投注全打满,亏损-2450.64。虽然是红的,但我反而挺高兴,因为这说明我守住了底线:没追加、没爆仓。7 Z, F: Y' F' v/ Y0 d4 i

0 [7 e. S3 p/ d. q& ^4 r. \6 [) @最后总结一句:
7 {( `9 y! T- Q3 x5 P2 W7 M+ c输钱不可怕,乱输才可怕;稳得住,才是真正的赢。
. s3 R7 e! A/ \
6 e* A5 b4 c) K# a; Y& e; |8 j这两天论坛不少人也在分享台湾盘的节奏,我的经验是——宁可打慢,也不要乱节奏。未来几天我会继续观察走势,等连号或规律性区间出来,再考虑加仓。今天就到这,休息一会,晚上再看情况。  X) N; l1 x$ X) L+ p& c

. L, y; m. t8 @5 H; n- J QQ20251006-160203.png QQ20251006-160102.png : ~3 n! G3 b1 R5 O5 @& W, w

& \% N8 Y, B4 ?  @7 d4 U9 v1 g
2 l+ V0 q) w9 [- R8 C' H4 g- j
回复

使用道具 举报

1

主题

4994

回帖

4198

金币

金牌会员

积分
23389

老会员

发表于 2025-10-6 16:22 | 显示全部楼层
楼主亏损了还是要止损,回血了一大半还是挺不错了
回复 支持 反对

使用道具 举报

197

主题

6859

回帖

148

金币

银牌会员

积分
13995

老会员交易勋章

发表于 2025-10-6 17:56 | 显示全部楼层
你还玩这个啊,我是真没玩过这类彩票,是彩票没错吧,止损做到位就好
回复 支持 反对

使用道具 举报

8

主题

2万

回帖

1万

金币

铂金用户

积分
82237

光影行者

发表于 2025-10-6 19:37 | 显示全部楼层
3050那把真够呛,能忍住不补仓已经赢一半,节奏乱时洗脸是个好招
回复 支持 反对

使用道具 举报

3400

主题

4万

回帖

4126

金币

钻石用户

积分
116733

万时之王老会员勤奋勋章交易勋章

发表于 2025-10-6 19:48 | 显示全部楼层
老哥还是低调点吧, 亏损2450, 也是输太多了, 还是要及时收手,真不敢继续了
回复 支持 反对

使用道具 举报

3400

主题

4万

回帖

4126

金币

钻石用户

积分
116733

万时之王老会员勤奋勋章交易勋章

发表于 2025-10-6 19:49 | 显示全部楼层
蔬菜沙拉 发表于 2025-10-6 19:37
2 |9 w" n) Z& ^0 _3050那把真够呛,能忍住不补仓已经赢一半,节奏乱时洗脸是个好招
! C- r% A& D! ^4 }. W6 q6 f3 B1 ?6 Z
玩菠菜还是量力而行吧, 别玩太大了, 输太多了, 也是很影响心情了。
回复 支持 反对

使用道具 举报

3400

主题

4万

回帖

4126

金币

钻石用户

积分
116733

万时之王老会员勤奋勋章交易勋章

发表于 2025-10-6 19:49 | 显示全部楼层
二电厂哥 发表于 2025-10-6 17:56
# u* @/ N. P# ^! B. M9 O你还玩这个啊,我是真没玩过这类彩票,是彩票没错吧,止损做到位就好

1 H: [$ P, ]+ v1 |2 C: o亏损了2450也是输太多了, 这钱能干很多事的了啊, 也是很遗憾了。
回复 支持 反对

使用道具 举报

3400

主题

4万

回帖

4126

金币

钻石用户

积分
116733

万时之王老会员勤奋勋章交易勋章

发表于 2025-10-6 19:50 | 显示全部楼层
shunlifeiup 发表于 2025-10-6 16:22
. p+ R' W' J. T! ?( W楼主亏损了还是要止损,回血了一大半还是挺不错了

3 Z$ u$ k# G: Q3 H( M0 l# a3 x, V损失惨重了呀, 输了这么多, 想回血都是很困难了啊, 还是休息冷静一下吧。
回复 支持 反对

使用道具 举报

380

主题

1563

回帖

2696

金币

铜牌用户

积分
9646

老会员交易勋章

发表于 2025-10-6 21:07 | 显示全部楼层
能够及时做到止损啊 还是很不容易的   及时调整吧!
回复 支持 反对

使用道具 举报

52

主题

2万

回帖

6829

金币

铂金用户

积分
82929

老会员光影行者

发表于 2025-10-7 02:34 | 显示全部楼层
别急着追,理性把握,稳住节奏,总会有赚钱的时候,节制至关重要
回复 支持 反对

使用道具 举报

52

主题

2万

回帖

6829

金币

铂金用户

积分
82929

老会员光影行者

发表于 2025-10-7 02:34 | 显示全部楼层
蔬菜沙拉 发表于 2025-10-6 19:37# b- k% k( _6 G5 |/ D  D5 u" A
3050那把真够呛,能忍住不补仓已经赢一半,节奏乱时洗脸是个好招
) x! R% o( n- i' v0 T+ e" |
3050那把确实有点狼狈,不过威尼斯人台湾宾果稳住节奏,亏损2450也算是及时止损
回复 支持 反对

使用道具 举报

2452

主题

8万

回帖

5206

金币

海燕硕士

积分
225117

老会员超级精华精华勋章美女勋章勤奋勋章交易勋章万时之王

发表于 2025-10-7 05:46 | 显示全部楼层
输掉了2000多块能够止损离开也是比较理智的一个人吧
回复 支持 反对

使用道具 举报

2452

主题

8万

回帖

5206

金币

海燕硕士

积分
225117

老会员超级精华精华勋章美女勋章勤奋勋章交易勋章万时之王

发表于 2025-10-7 05:46 | 显示全部楼层
whywhy 发表于 2025-10-7 02:34$ _8 u4 Q& T0 l: z9 m8 y( p
3050那把确实有点狼狈,不过威尼斯人台湾宾果稳住节奏,亏损2450也算是及时止损 ...

  v0 c8 x9 K* k# i" d) D) n反正自己的节奏要把握好,不然输的就是自己的钱
回复 支持 反对

使用道具 举报

2452

主题

8万

回帖

5206

金币

海燕硕士

积分
225117

老会员超级精华精华勋章美女勋章勤奋勋章交易勋章万时之王

发表于 2025-10-7 05:46 | 显示全部楼层
whywhy 发表于 2025-10-7 02:34
, l0 j. C% n4 o8 U别急着追,理性把握,稳住节奏,总会有赚钱的时候,节制至关重要
: \1 k: m+ `, u" {
这个节奏导致的亏损也是没有办法的事,毕竟输了这么多
回复 支持 反对

使用道具 举报

2452

主题

8万

回帖

5206

金币

海燕硕士

积分
225117

老会员超级精华精华勋章美女勋章勤奋勋章交易勋章万时之王

发表于 2025-10-7 05:46 | 显示全部楼层
莫扎特06 发表于 2025-10-6 19:49
2 w5 V4 E1 i6 ?: `+ p2 ]" O5 E8 |" _% [亏损了2450也是输太多了, 这钱能干很多事的了啊, 也是很遗憾了。

! H: p8 M# o' [; U% V; v# Y1 p输的太多也是要想办法把它搞回来,不然也是难受
回复 支持 反对

使用道具 举报

您需要登录后才可以回帖 登录 | 立即注册

本版积分规则

广告合作|福利汇|论坛简介|钱包教程|手机版|小黑屋|Archiver|海燕论坛

快速回复 返回顶部 返回列表