找回密码
 立即注册
澳门威尼斯人
U8
U18
海燕招商
A
蓝盾
e世博
islot.
申博亚洲
B
开云
腾博会
德信
C级广告商
吉祥坊
华体会
查看: 33470|回复: 75

[彩票] 【实战有奖】今天到腾博会玩彩票输了1块多

[复制链接]

1211

主题

3万

回帖

611

金币

铂金用户

积分
90705

老会员交易勋章光影行者

发表于 2025-11-15 14:55 | 显示全部楼层 |阅读模式

马上注册,结交更多好友,享用更多功能,让你轻松玩转社区。

您需要 登录 才可以下载或查看,没有账号?立即注册

×
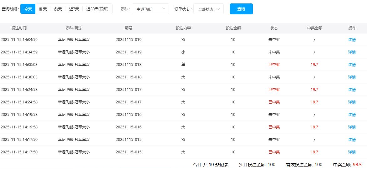
     今天又是到了腾博会去了。又是去存了一百大洋了啊。结果是存进去了啊。我就转到了DB彩票去玩了幸运飞艇了啊。可惜,今天也是就顺利完成了流水的了。并没有得到盈利的啊。胜率是55分了啊。所以,最终我是输了抽水的啊。也是有点心酸了啊。好在没有输掉一注,也就亏损不大了啊。也是就不太计较了啊。
7 k3 i$ o. b2 {: {* L% v7 ?* \9 ]2 ?6 J; I4 I! Q: M
      第一期我是买的冠军的大和双了啊。各下注了10大洋的啊。一下去就感觉到估计是可以中一个的啊。结果出来,果然是中了一个的啊。说明我今天的运气还是可以的啊,竟然是让我猜到了结果的啊。我是单中了。小却错了。它当时,单已经开了5期的了。现在就是开第6期的啊。看来是要开长龙了啊。
9 }" e, {8 s  }+ Z  g* w      第2期,我买的还是冠军了。买的是大和双的啊。还是下注了10元一个的啊。我以为还是要出一个的啦。果然结果出来,是中了一个的啊。果然是单还是连续出了啊,出了长隆的啊。而我买的是双了啊。我是按照了固定打法了。没有去看路子了。没有想到,这是按照了路子出了。不过,好在这次也是一红一黑,我也是没有亏损的啊。
1 D- E6 J% G: T  @( z* J       第3期,我买的还是冠军了。买的还是大和双了啊。还是一共下注了20大洋了。嘿,这次终于来了一个好结果了啊。两红啦 。大和双都是出来 啊。出了一个6了啊。也是令人开心的啊。这下子就赢了20大洋了。也是蛮满足了。# j/ a* y) z% d9 b" S" Y1 L# {
       第4期,我继续买冠军了。买的是大和单了啊。一共下注20大洋。结果呢,出的是小和单了啊。那么我的下注也是一红一黑的啊。我和庄家打了一个平手了啊。我没有输,庄家也是没有赢的啊。我还是满意的啊。现在4期下来,我还是赢了的啊。: f' l' s  w7 K0 M  Z5 p0 r! D- |% r
       第5期,我继续买冠军。买的是小双了啊。可惜了啊。这次竟然又出了2黑的结果了啊。真是的,为啥连红和连黑总是伴生呢。实在是无趣了啊。刚高兴没有多久,就又输了回去了啊 。好在这样,我也是没有亏多少的啊。
6 H8 n; [7 m8 C4 Q       就这样,5期下来,我总计投注10手,中5手,不中5手,最终还是打平了,就是输了1块多的水钱而已,还是算运气好的啊。只是遗憾没有赢到钱了。
$ E6 r$ k6 w4 P0 m3 C    0.JPG 01.JPG # M0 A( H6 J) w7 d- Z2 {0 R
: ?2 l7 e' H8 q3 G9 ^3 H5 d3 j0 t
回复

使用道具 举报

1

主题

4994

回帖

4198

金币

金牌会员

积分
23389

老会员

发表于 2025-11-15 15:02 | 显示全部楼层
楼主来来回回玩的只输了水钱就是打打流水也还不错
回复 支持 反对

使用道具 举报

0

主题

8446

回帖

1355

金币

金牌会员

积分
27978

光影行者

发表于 2025-11-15 15:49 | 显示全部楼层
shunlifeiup 发表于 2025-11-15 15:02* B8 v, I& R: u7 i, W( G9 M5 v
楼主来来回回玩的只输了水钱就是打打流水也还不错

! a# a1 v5 y3 p' f努力劝自己“只是娱乐”,却越输越急,这种控制不住的烦躁,熬得人身心俱疲!
回复 支持 反对

使用道具 举报

0

主题

8446

回帖

1355

金币

金牌会员

积分
27978

光影行者

发表于 2025-11-15 15:49 | 显示全部楼层
夜里翻来覆去睡不着,反复复盘选号过程,越想越可惜,硬生生熬到天亮!
回复 支持 反对

使用道具 举报

0

主题

9811

回帖

4709

金币

金牌会员

积分
30939

老会员

发表于 2025-11-15 15:58 | 显示全部楼层
如果总是在输钱,就不要玩了,希望之后都能有个好的结果了啊。
回复 支持 反对

使用道具 举报

7

主题

1万

回帖

6000

金币

千足金牌会员

积分
56470

光影行者

发表于 2025-11-15 17:25 | 显示全部楼层
运气这东西真玄学,前三期小赢还挺爽,最后几把又回去了,流水战真磨心态
回复 支持 反对

使用道具 举报

7

主题

1万

回帖

6000

金币

千足金牌会员

积分
56470

光影行者

发表于 2025-11-15 17:26 | 显示全部楼层
过程 发表于 2025-11-15 15:49
- P' e% t- m  z, w/ U$ c8 s7 k; M努力劝自己“只是娱乐”,却越输越急,这种控制不住的烦躁,熬得人身心俱疲! ...

& z" P0 a% i  r$ ?4 {输一块都急成这样,再玩下去心态崩了可别怪游戏坑人
回复 支持 反对

使用道具 举报

77

主题

1万

回帖

5433

金币

千足金牌会员

积分
62063

老会员交易勋章魅力达人

发表于 2025-11-15 18:44 | 显示全部楼层
冠军位连追大双这几手,中间两红一黑节奏还行,抽水这点亏损就当消遣了
回复 支持 反对

使用道具 举报

77

主题

1万

回帖

5433

金币

千足金牌会员

积分
62063

老会员交易勋章魅力达人

发表于 2025-11-15 18:45 | 显示全部楼层
shunlifeiup 发表于 2025-11-15 15:020 a2 W& q) m& {" a% @* T, ^
楼主来来回回玩的只输了水钱就是打打流水也还不错

0 l: r1 [- v: F  x: U/ R8 O8 q来回折腾只亏这点水钱,就当是刷流水顺便找找感觉,这结果其实挺稳的
回复 支持 反对

使用道具 举报

2535

主题

5万

回帖

7829

金币

钻石用户

积分
175454

万时之王老会员精华勋章勤奋勋章交易勋章

发表于 2025-11-15 19:03 来自手机 | 显示全部楼层
楼主今天玩彩票运气一般般,打了平手的结果,小亏点水钱
回复 支持 反对

使用道具 举报

2535

主题

5万

回帖

7829

金币

钻石用户

积分
175454

万时之王老会员精华勋章勤奋勋章交易勋章

发表于 2025-11-15 19:04 来自手机 | 显示全部楼层
shunlifeiup 发表于 2025-11-15 15:029 @; c! }$ h- Q4 O* l+ L
楼主来来回回玩的只输了水钱就是打打流水也还不错
8 i+ N& f' b! Z  J
这个亏损可以忽略不计的了,明天运气好就可以轻松赢回来的,加油
回复 支持 反对

使用道具 举报

2535

主题

5万

回帖

7829

金币

钻石用户

积分
175454

万时之王老会员精华勋章勤奋勋章交易勋章

发表于 2025-11-15 19:04 来自手机 | 显示全部楼层
小策 发表于 2025-11-15 18:454 J8 d5 Q. \# f) C  ~" ^( o
来回折腾只亏这点水钱,就当是刷流水顺便找找感觉,这结果其实挺稳的
# V' C5 b+ \+ M* G9 N! V
只是亏损了点水钱,亏损不大,没有太大影响,希望下次多收米了
回复 支持 反对

使用道具 举报

101

主题

2647

回帖

752

金币

铜牌用户

积分
9148

交易勋章魅力达人

发表于 2025-11-15 21:56 | 显示全部楼层
楼主玩的真的是很厉害,然后控制能力很强,亏损了一元钱要够,我肯定是要打回来的。
回复 支持 反对

使用道具 举报

101

主题

2647

回帖

752

金币

铜牌用户

积分
9148

交易勋章魅力达人

发表于 2025-11-15 21:56 | 显示全部楼层
浴火凤凰 发表于 2025-11-15 19:04
" z6 s. k0 B6 K* }& y* ?7 d只是亏损了点水钱,亏损不大,没有太大影响,希望下次多收米了

2 K& a8 r! q0 ~& ^* C也是楼主的控制能力比较好,要搁我的话,亏损肯定是不愿意的,肯定是还是想要一个盈利的。
回复 支持 反对

使用道具 举报

101

主题

2647

回帖

752

金币

铜牌用户

积分
9148

交易勋章魅力达人

发表于 2025-11-15 21:57 | 显示全部楼层
蔬菜沙拉 发表于 2025-11-15 17:26
1 N6 _3 [0 n+ Y# U( `5 C0 Z# {输一块都急成这样,再玩下去心态崩了可别怪游戏坑人
2 ]2 o) v7 q2 S7 H  N3 k
楼主的心态肯定是不太好,而且确实是非常容易崩的,正常来说这个真的是很无语的。
回复 支持 1 反对 0

使用道具 举报

您需要登录后才可以回帖 登录 | 立即注册

本版积分规则

广告合作|评测有奖|福利汇|论坛简介|钱包合集|手机版|小黑屋|Archiver|海燕论坛

快速回复 返回顶部 返回列表