找回密码
 立即注册
澳门威尼斯人
U8
U18
海燕招商
A
蓝盾
e世博
islot.
申博亚洲
澳门银河
B
腾博会
德信
C级广告商
吉祥坊
查看: 197403|回复: 45

[电子] 没有比较就没有伤害,bb的麻将胡了确实比pg的给力。

[复制链接]

562

主题

177

回帖

2510

金币

铜牌用户

积分
8172

老会员

发表于 2024-7-1 17:01 | 显示全部楼层 |阅读模式

马上注册,结交更多好友,享用更多功能,让你轻松玩转社区。

您需要 登录 才可以下载或查看,没有账号?立即注册

×
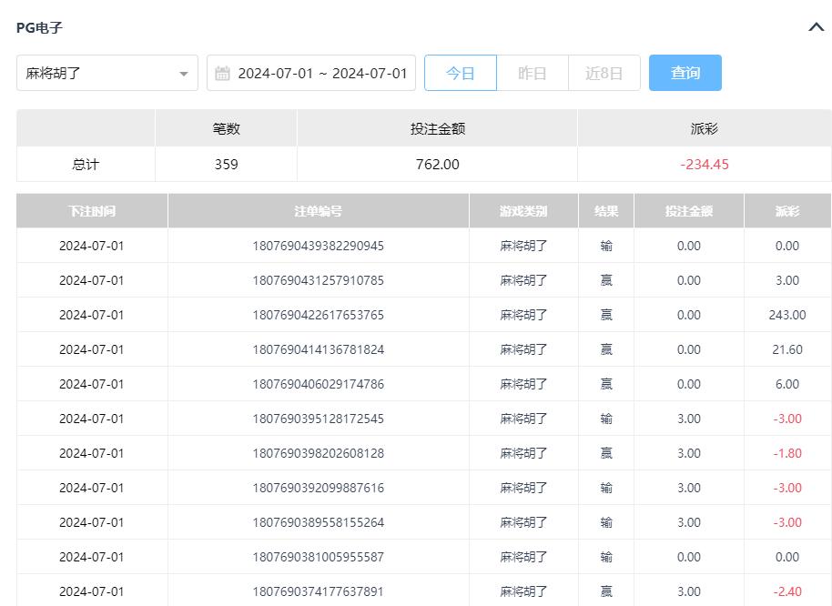
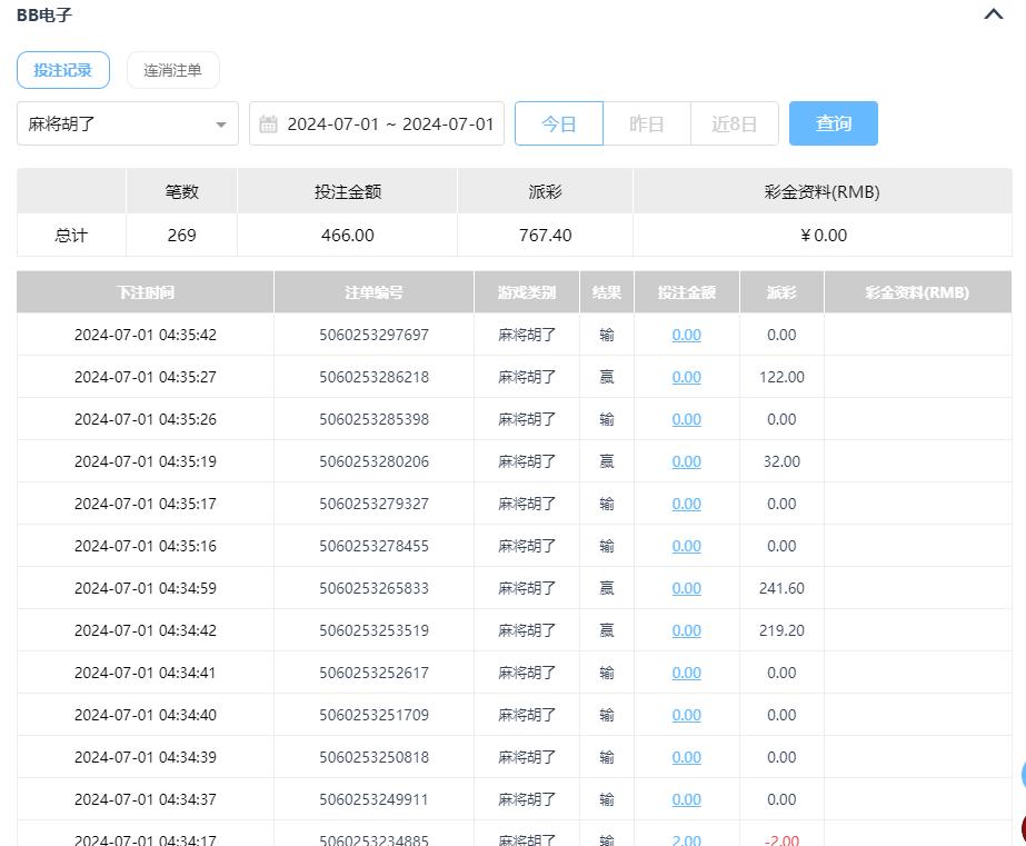
同样是麻将胡了,今天bb的麻将胡了明显要比pg的给力多了。8 [) i; z: h6 ?$ j8 }, V; W

' b$ S, U6 n' V- A/ g, d首先bb的打了200多转,免费转是出过好几遍的了,但因为一直没打出高赔,就没舍得离开。
( g* W9 O  n5 O+ R
, J9 C& m" @8 `% t# Z$ z/ b/ e' K
1.jpg 2.jpg 3.jpg 4.jpg 5.jpg 6 v- A* O! B# @, i3 N) \2 t% c

# w9 F( \0 e0 G: D* `- R! }. g7 a6 f8 K! w  [
毕竟一直有着盈利,也不着急离场。终于靠最后一波免费转,一口气打出了300多倍的奖励,盈利760。。
- {. L# q3 S. @  M  ^$ Z! C! O7 @6 n! U* z: q; u3 @

7 c+ W  q0 N" T5 X& p4 b! d* r+ N 6.jpg 7.jpg
2 t" |, x$ X# x$ J7 q9 t3 m! w
; Q4 T: E6 b% V& Z8 g1 y/ M* Y; C; R
- Y2 W! H" E( W: `1 }
至于PG的嘛,打了差不多400转,一次免费转都没出,关键游戏也没多给力呀,要不是最后爆了一发80来倍的奖励,这波真的血亏了。1 G7 ]) }* B# j' Q. f7 c
/ A. [& _# {4 r7 T8 y: t. t! L
回复

使用道具 举报

头像被屏蔽

102

主题

9137

回帖

2659

金币

禁止发言

积分
23011

老会员美女勋章

发表于 2024-7-1 17:03 | 显示全部楼层
提示: 作者被禁止或删除 内容自动屏蔽
回复 支持 反对

使用道具 举报

3411

主题

8万

回帖

9624

金币

海燕硕士

积分
236129

万时之王老会员精华勋章勤奋勋章交易勋章光影行者

发表于 2024-7-1 17:28 | 显示全部楼层
这样的感觉还是太好了,看来你真的是一个老虎机的高手的呀
回复 支持 反对

使用道具 举报

3411

主题

8万

回帖

9624

金币

海燕硕士

积分
236129

万时之王老会员精华勋章勤奋勋章交易勋章光影行者

发表于 2024-7-1 17:33 | 显示全部楼层
尔不耳不斤 发表于 2024-7-1 17:03
! A5 _% _% d+ j' t. i哪里能有大奖楼主就去哪里,你的选择就是没错的啊
; O# M4 y. M1 L: Q
看来玩老虎机的话还是需要能够大胆一些,勇敢一些,就会存在着有惊喜的呀
回复 支持 反对

使用道具 举报

46

主题

1万

回帖

1372

金币

金牌会员

积分
24942

老会员

发表于 2024-7-1 17:55 | 显示全部楼层
老虎机还是输钱的时候比较多了,希望以后都能够有个好的结果了。
回复 支持 反对

使用道具 举报

480

主题

3万

回帖

4665

金币

铂金用户

积分
84327

老会员美女勋章勤奋勋章交易勋章

发表于 2024-7-1 20:10 | 显示全部楼层
bb的麻将胡了还没有玩过,能够出分好就可以赢出来了
回复 支持 反对

使用道具 举报

3411

主题

8万

回帖

9624

金币

海燕硕士

积分
236129

万时之王老会员精华勋章勤奋勋章交易勋章光影行者

发表于 2024-7-1 21:11 | 显示全部楼层
十里变百里 发表于 2024-7-1 17:55
7 c. E- K, f4 I& M" j老虎机还是输钱的时候比较多了,希望以后都能够有个好的结果了。

% F" x2 h) h& a, p# O这个老虎机的话确实还是输钱的时候比较多,还是需要能够冷静一些了
回复 支持 反对

使用道具 举报

3400

主题

4万

回帖

4132

金币

钻石用户

积分
116745

万时之王老会员勤奋勋章交易勋章

发表于 2024-7-1 21:36 | 显示全部楼层
最终成绩还不错了, 也是成功有收获了, 也总算没白辛苦了啊。
回复 支持 反对

使用道具 举报

3400

主题

4万

回帖

4132

金币

钻石用户

积分
116745

万时之王老会员勤奋勋章交易勋章

发表于 2024-7-1 21:37 | 显示全部楼层
十里变百里 发表于 2024-7-1 17:55* k1 j4 x; I$ [- `& a! m
老虎机还是输钱的时候比较多了,希望以后都能够有个好的结果了。

- ^0 x) j* z, N) P8 R. N" f5 `老虎机还是不要碰了, 吃人不吐骨头了,还是玩些体育比赛比较靠谱些。
回复 支持 反对

使用道具 举报

218

主题

1万

回帖

2506

金币

千足金牌会员

积分
45396

老会员

发表于 2024-7-1 21:54 | 显示全部楼层
老哥的运气可谓是相当的牛逼,一会就是爆出大奖励的倍数
回复 支持 反对

使用道具 举报

218

主题

1万

回帖

2506

金币

千足金牌会员

积分
45396

老会员

发表于 2024-7-1 21:56 | 显示全部楼层
莫扎特06 发表于 2024-7-1 21:37
) Z2 a8 h+ B  I% ~$ c+ O老虎机还是不要碰了, 吃人不吐骨头了,还是玩些体育比赛比较靠谱些。
2 E1 k/ B- }; w+ m! v! k
老虎机玩起来太需要运气的支持和肯定的,不然出分很难的
回复 支持 反对

使用道具 举报

2677

主题

8万

回帖

6259

金币

海燕硕士

积分
216692

万时之王老会员勤奋勋章

发表于 2024-7-1 22:48 | 显示全部楼层
论玩玩电子游戏,我是最佩服你了,有这么大的收入也是不服都不行啊
回复 支持 反对

使用道具 举报

2677

主题

8万

回帖

6259

金币

海燕硕士

积分
216692

万时之王老会员勤奋勋章

发表于 2024-7-1 22:48 | 显示全部楼层
hy188820 发表于 2024-7-1 21:56
) G9 |/ r/ P; A8 Q/ n老虎机玩起来太需要运气的支持和肯定的,不然出分很难的

) A" y+ U. z5 E% F$ N3 B这个当然是离不开的运气的啦,不过人家是也有胆量才可以的
回复 支持 反对

使用道具 举报

2677

主题

8万

回帖

6259

金币

海燕硕士

积分
216692

万时之王老会员勤奋勋章

发表于 2024-7-1 22:48 | 显示全部楼层
莫扎特06 发表于 2024-7-1 21:373 C+ H- ~. A9 C0 G4 `
老虎机还是不要碰了, 吃人不吐骨头了,还是玩些体育比赛比较靠谱些。
8 N$ w9 m5 H3 M9 q' W
这个如果是本钱不多的话,还是要少玩一点的啦,很快就吃光光的
回复 支持 反对

使用道具 举报

2677

主题

8万

回帖

6259

金币

海燕硕士

积分
216692

万时之王老会员勤奋勋章

发表于 2024-7-1 22:49 | 显示全部楼层
lantianyun 发表于 2024-7-1 21:11
, n8 B" D. T2 d' \: m* a这个老虎机的话确实还是输钱的时候比较多,还是需要能够冷静一些了
5 b7 m! F& c" |. I& g9 d9 c3 t
玩电子游戏当然是要淡定一点才可以啊,冲动也是魔鬼的啦
回复 支持 反对

使用道具 举报

您需要登录后才可以回帖 登录 | 立即注册

本版积分规则

广告合作|福利汇|论坛简介|钱包教程|手机版|小黑屋|Archiver|海燕论坛

快速回复 返回顶部 返回列表