找回密码
 立即注册
澳门威尼斯人
U8
U18
海燕招商
A
蓝盾
e世博
islot.
申博亚洲
澳门银河
B
腾博会
德信
C级广告商
吉祥坊
查看: 277745|回复: 66

[彩票] 【实战有奖】今天在USDT娱乐城清代了300块大洋

[复制链接]

3192

主题

5万

回帖

1944

金币

钻石用户

积分
134129

万时之王老会员精华勋章美女勋章勤奋勋章交易勋章

发表于 2024-9-24 16:34 | 显示全部楼层 |阅读模式

马上注册,结交更多好友,享用更多功能,让你轻松玩转社区。

您需要 登录 才可以下载或查看,没有账号?立即注册

×
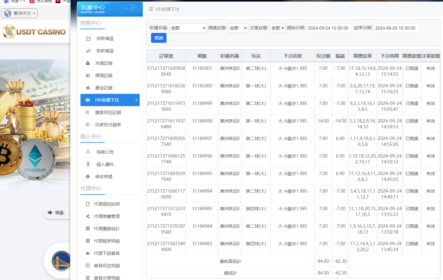
我已不止一次遇见了下雨天,今天又遇到糟糕的天气,雨水如上天的弃子,洒落在人海里,我走在红绿灯的十字路口,对天空发出哭声,我沉醉其境,啜饮其雨,一时分不清雨和泪的味道,都是咸的。今天没有存款,把兑换到账的筹码打了一下,但今天的战绩依如糟糕的天气般又一次让我崩溃了,真是一边在崩溃又一边在自愈,下面来分享今天惨不忍睹的战绩吧。$ m5 ]8 A5 s+ A! O2 w* F
. e1 j' \1 n( g" h* C
7 Q5 L# p, X8 ?) M3 X

- X8 S$ f1 }% A+ S                               
登录/注册后可看大图

" c: c3 }* ?- _6 L" x- |3 l/ C  C8 H% l
9 u9 i' `8 }+ G* m8 ~1 r7 z+ f+ I
一上来先观察路子吧,发现第四个球的位置前面已开了大大小大大大?于是想着大球的长龙没有断吧,所以就跟着再买了一手大,结果开出来9数字,也是小球,第一把就被坑了。再继续探路吧,又看好第二个位置的路子,前面开了小大大小小小小?小球正好是1数字,我觉得物极必反,所以反买了一手大球,可惜小球还没有断又输了一手。接着看到第四个球的位置连续出了三期的小球,没有理由去追大啊,所以继续跟一把小球,结果又没有打出来,太坑了我。我又回头发现第二个球的位置上开了双跳的走势,前面出了小大大小大大小大?于是我信心满满地再去追一手大球,可惜又反弹小球了。哎,连续错了四把了,扎心的不行啊。$ R, |" I4 q0 M; g

% ?  u: ?" p9 [9 \) V
& Q- @' Q% f; U5 t7 |
                               
登录/注册后可看大图
- G2 P& k/ v6 p' z

2 a' f  N5 O5 b8 y' M( r3 Y. l
/ @2 I9 e( \/ F& `" u2 n
4 o! X9 W3 g! ~! ^9 i后面我看到第一个球的位置上又出了双跳的路子,开了小小大小小?于是继续跟一把大球吧,还好这一把终于让我守得云开见明月了啊。第一个球的走势还是挺旺我的,于是继续反买小了,因为是双跳的路子,还行,这一把小球又如愿以偿,顺利开出来了。本想继续追第一个球的小,发现第二个球的位置上单挑的走势也很明朗,前面已开了小大小大小大小?最终还是决定买第二个球的大球,开出来11数字,也是大球,顺利收了一单。接下来发现第一个球的双跳走势也开的不错。前面开的是小小大小小大小小?所以重注买了一手第一个球的大,可惜这一手事与愿违了啊,没想到双跳的走势给我买断了,出大球了。后面看到第二个球的位置上,单挑的路子还在继续,前面已开了小大小大小大小大小?我还是继续追大吧。我看看是不是断龙高手啊?果断又被我跟断了,你说运气真的是醉了不?感觉第一个球连续出四期小了,并且数字开到了9数字,那我反买一手大吧,要是输了也认了啊。没想到开了2数字,还是继续出小球啊,真是输的很服气了吧。发现第二个球的位置上连续开了三期小,前面开的是大大小小小?所以想着继续追一把小吧,结果开出来18数字是大球,彻底输光了。真是惨!
6 I/ e7 A3 u; K& Q
. `9 Y& P" m& F1 _! }  o( p, l+ V" \4 l" S! \# b/ {

' m) Y8 o4 |) o0 `9 }+ Z6 p
; R, V0 ~' V4 Q# X  c' y
                               
登录/注册后可看大图
! {, t3 l& R, j- Z0 o
6 Z1 ~4 \, s8 S8 ?7 f. ?& \- y' G
: k; n& \) r7 F) X9 [5 ^9 {& D
每天这么输下去,心好累了,说真的,有点麻木的感觉,越是想赢越是输的彻底啊。对自己无法言说了,不知道最近是不是一直处于下风期?每天都信心满满下注,开奖的结果总是反的,完美错过我的判断标准。有时候都不知道怎么下注了?遇到每天输的情况,大家会有这样怀疑过自己吗?1 w+ r# k# I/ J6 i# f" D
* v, s9 t9 ~2 @6 Z4 E- _

1 d. t: H' ^3 q1 l6 z; X. d  j USDT娱乐城.png
# `% k; |: g$ `3 r( ?7 r US投注.png ' ^/ a& N, j0 g1 U8 m1 W" I

8 X9 F' L1 l1 j8 _1 W$ v
: F8 q  h0 t9 `: o
回复

使用道具 举报

头像被屏蔽

102

主题

9137

回帖

2659

金币

禁止发言

积分
23011

老会员美女勋章

发表于 2024-9-24 16:49 | 显示全部楼层
提示: 作者被禁止或删除 内容自动屏蔽
回复 支持 反对

使用道具 举报

1

主题

2075

回帖

2197

金币

铜牌用户

积分
9004

老会员

发表于 2024-9-24 17:33 | 显示全部楼层
别太自责了,大家都有这样的低谷期,调调整心态,慢慢来,总会有转机的!加油!
回复 支持 反对

使用道具 举报

46

主题

1万

回帖

1372

金币

金牌会员

积分
24942

老会员

发表于 2024-9-24 18:14 | 显示全部楼层
这样的运气,还是很不错的,希望以后都能够有个好的结果了。
回复 支持 反对

使用道具 举报

677

主题

4万

回帖

1066

金币

钻石用户

积分
119592

老会员勤奋勋章交易勋章光影行者

发表于 2024-9-24 18:41 | 显示全部楼层
运气不行那还是很无奈的了,希望下次可以给力一点的了,还是很不容易的咯
回复 支持 反对

使用道具 举报

677

主题

4万

回帖

1066

金币

钻石用户

积分
119592

老会员勤奋勋章交易勋章光影行者

发表于 2024-9-24 18:41 | 显示全部楼层
十里变百里 发表于 2024-9-24 18:14$ E/ h& ~' R# n1 i% M! n
这样的运气,还是很不错的,希望以后都能够有个好的结果了。
) i( I9 f: Z3 B# G
反正都是看的了,有好的运气,那么才是有机会可以赚到钱出来的咯
回复 支持 反对

使用道具 举报

2486

主题

8万

回帖

5731

金币

海燕硕士

积分
227961

老会员超级精华精华勋章美女勋章勤奋勋章交易勋章万时之王

发表于 2024-9-24 18:56 | 显示全部楼层
这个运气不行也是输的快速的呀,建议也是少玩为好的呀
回复 支持 反对

使用道具 举报

2486

主题

8万

回帖

5731

金币

海燕硕士

积分
227961

老会员超级精华精华勋章美女勋章勤奋勋章交易勋章万时之王

发表于 2024-9-24 18:56 | 显示全部楼层
ronald263 发表于 2024-9-24 18:41
% j8 V  j) c3 X" d. U- e! U6 x5 `( v反正都是看的了,有好的运气,那么才是有机会可以赚到钱出来的咯
# E' r4 {1 \, E1 G2 K+ e1 c
运气不好也是输的快速呀,我们也是这个过来人的呀,可以理解的
回复 支持 反对

使用道具 举报

2486

主题

8万

回帖

5731

金币

海燕硕士

积分
227961

老会员超级精华精华勋章美女勋章勤奋勋章交易勋章万时之王

发表于 2024-9-24 18:57 | 显示全部楼层
十里变百里 发表于 2024-9-24 18:14" m8 l3 ]  w6 e
这样的运气,还是很不错的,希望以后都能够有个好的结果了。

. b  P5 {4 j% M4 N运气也是自己不行不要玩为好的呀,输的也是自己的钱呀,不太好的
回复 支持 反对

使用道具 举报

2486

主题

8万

回帖

5731

金币

海燕硕士

积分
227961

老会员超级精华精华勋章美女勋章勤奋勋章交易勋章万时之王

发表于 2024-9-24 18:57 | 显示全部楼层
尔不耳不斤 发表于 2024-9-24 16:49" h* a3 {; o- l' H
楼主又送了三百大洋 出去,这节奏也太悲催了啊
# R" H$ }2 C1 m1 J0 ]
感觉运气不行的话送的也是真的快速的呀,也不知道如何是好呀
回复 支持 反对

使用道具 举报

205

主题

7329

回帖

1600

金币

银牌会员

积分
17956

老会员光影行者

发表于 2024-9-24 19:47 | 显示全部楼层
8 ^" c+ S. Y; i6 C6 E
真是输钱如流水,这种情况我们很难把握进退,是个艰难时刻
回复 支持 反对

使用道具 举报

824

主题

3375

回帖

1385

金币

版主

积分
13196

老会员版主勋章

发表于 2024-9-24 20:19 | 显示全部楼层
清代是最伤脑的事情,还是要尽力避免啊
回复 支持 反对

使用道具 举报

2629

主题

5万

回帖

5922

金币

钻石用户

积分
176410

万时之王老会员精华勋章勤奋勋章交易勋章

发表于 2024-9-24 20:59 来自手机 | 显示全部楼层
楼主今天的运气还是不太好,兑换的300筹码没能打出来,可惜的
回复 支持 反对

使用道具 举报

2629

主题

5万

回帖

5922

金币

钻石用户

积分
176410

万时之王老会员精华勋章勤奋勋章交易勋章

发表于 2024-9-24 21:01 来自手机 | 显示全部楼层
海燕体育 发表于 2024-9-24 20:199 Z# J/ _" P4 q4 U$ _; @
清代是最伤脑的事情,还是要尽力避免啊

& i' ~1 R( q/ X! U遇到连黑胜率不好的时候,清代也是没有办法的了,希望下次能够顺利吧
回复 支持 反对

使用道具 举报

2629

主题

5万

回帖

5922

金币

钻石用户

积分
176410

万时之王老会员精华勋章勤奋勋章交易勋章

发表于 2024-9-24 21:02 来自手机 | 显示全部楼层
杨雪儿 发表于 2024-9-24 18:57- V" z) ?; _5 w4 X4 P" I
运气也是自己不行不要玩为好的呀,输的也是自己的钱呀,不太好的
9 H) M7 u- x: m( w- W' z
状态不好的时候,只能是先止损了,下次再找机会赢回来
回复 支持 反对

使用道具 举报

您需要登录后才可以回帖 登录 | 立即注册

本版积分规则

广告合作|福利汇|论坛简介|钱包教程|手机版|小黑屋|Archiver|海燕论坛

快速回复 返回顶部 返回列表